大基金三期启航!着眼长效目标解决卡脖子问题,这些领域有望迎来风口
5月27日,半导体板块异军突起,光刻机、中芯国际概念股、国家大基金、国产芯片、存储芯片等概念股大幅上涨。究其原因,国家集成电路产业投资基金三期(以下简称大基金三期)股份有限公司于5月24日正式成立,注册资本3440亿人民币。
六大行首次参与投资,彰显金融支持实体壮大耐心资本导向
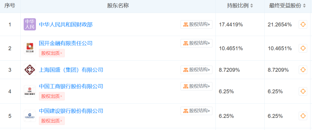
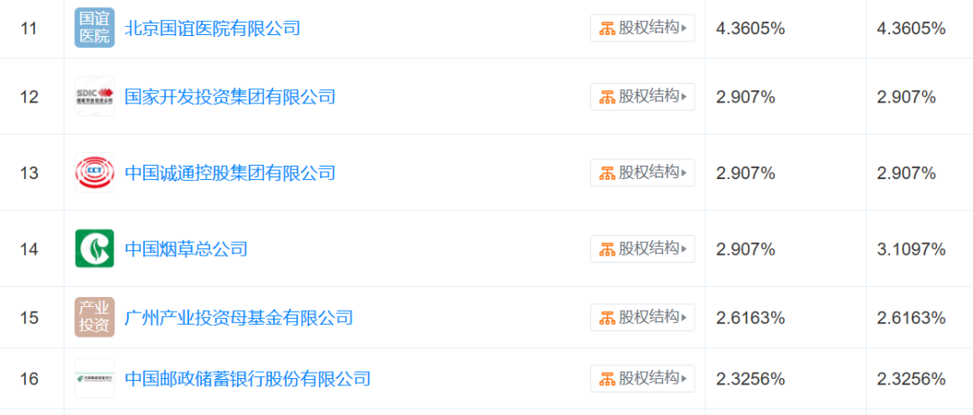
大基金三期持股4%以上股东包括财政部(17.4%)、国开金融(10.5%)、国盛集团(8.7%,实控人上海国资委)、工行(6.25%)、农行(6.25%)、中行(6.25%)、建行(6.25%)、交行(5.8%)、亦庄国投(5.8%)、深圳鲲鹏(4.9%)、国谊医院(4.4%)。
大基金一期以中央财政出资占大头(36.47%),体现出早期中央财政的大力支持;大基金二期以地方国资占大头(64.17%),体现出2019年前后各地对集成电路产业支持和招商引资的热情;大基金三期则以国有商业银行占大头(33.14%),体现出金融支持实体以及壮大耐心资本的导向。
值得注意的是,大基金一期和二期的唯一受托管理人华芯投资管理有限责任公司未出现在三期的股东名录中,我们预计这可能意味着大基金三期或改变一期和二期以来的单一委托管理模式,例如改为采用直投+委托多家管理人的模式。本次新增的央企股东诚通集团和国投集团均在产业基金投资领域有所布局:例如诚通集团旗下管理了国调基金、混改基金等,国投集团旗下管理了科技成果转化基金等。目前尚待后续进一步官宣。
根据中国银行等六大行2024年5月27日的集体公告,各家银行预计向大基金三期的出资自基金注册成立之日起10年内实缴到位。大基金一期和二期均为5年投资期、5年回收期,中信证券推测本次银行公告的三期资金10年内实缴可能意味着三期基金的投资期已延长至10年。长期的、持续的资本有利于一些长期产业项目的孵化和支持,追求长期商业化目标和长周期考核,而非关注短期投资盈利,更有利于支持科技创新和产业升级突破,契合当下壮大“耐心资本”的导向。
着眼长效目标解决卡脖子问题
大基金一期成立于2014年,注册资本987亿,主要任务为集成电路制造产线建设,为国产替代打下铺垫,投资领域主要集中于集成电路制造(约67%)。
大基金二期成立于2019年,注册资本2042亿,主要任务为完善产业结构,加速国产替代,投资领域更加多元,涵盖制造、设计、封测、零部件、材料及应用等多个领域。方向是布局核心设备及关键零部件,确保产业链安全可控。
大基金三期成立于2024年,注册资本3440亿。根据一、二期投资节奏以及当前半导体产业链发展现状,推测大基金三期主要任务可能是要打通关键的“卡脖子”环节,加大对核心技术、材料、零部件等领域的支持力度。
根据中信证券统计,大基金一期的投资主要集中在IC制造(63%)、IC设计(20%)、封装测试(10%)和设备材料(7%)等环节。根据财联社创投通-执中数据,大基金二期的投向中,晶圆制造领域比例达到70%,可见制造环节由于建厂支出较高,投资金额占比最重;对设备、材料的投资占比有所增加,达到了10%左右;对IC设计项目的投资额也达到了10%左右的比例;对封测业的出资比例则有所下降。
考虑到目前先进制造和配套的设备、材料、零部件、EDA、IP等供应链环节存在“卡脖子”问题,我们预计对于相关领域龙头企业的支持力度有望持续加大。同时,由于晶圆厂资本支出中约80%用于购置半导体设备,投资于晶圆厂建厂的支出也将使半导体设备、零部件及材料厂商显著受益。
中信证券建议持续关注国内设备企业在“卡脖子”领域的新品布局和国内晶圆厂扩产采购带来的订单增量空间,建议关注国内头部设备企业。此外,考虑到设备配套零部件环节的国产化趋势,同时建议关注半导体设备零部件公司。从资金支持国内持续扩产角度,建议关注制造龙头企业。
开源证券分析,国家大基金三期落地以及下游需求复苏,助力国内逻辑、存储晶圆厂坚定持续扩产信心,半导体核心设备及零部件国产化有望加速渗透。
重点推荐先进制程关键设备相关标的:北方华创(刻蚀/薄膜/炉管/清洗设备)、中微公司(刻蚀/CVD/量测设备)、拓荆科技(PECVD/ALD/SACVD设备)、芯源微(涂胶显影/清洗/临时键合设备)、华海清科(CMP设备)、万业企业(离子注入机)、至纯科技(清洗设备)、华峰测控(SoC测试机)。
其他先进制程关键设备受益标的:微导纳米(ALD/PECVD设备)、盛美上海(湿法/电镀设备)、精测电子(量检测设备)、中科飞测(量检测设备)、精智达(DRAM测试设备)、赛腾股份(量检测设备)等。
半导体核心零部件相关受益标的:富创精密、新莱应材、英杰电气、正帆科技、江丰电子、华亚智能、汉钟精机等。
- 银行股迎来“黄金买点”?摩根大通预计下半年潜在涨幅高达15%,股息率4.3%成“香饽饽”
- 华润电力光伏组件开标均价提升,产业链涨价传导顺利景气度望修复
- 我国卫星互联网组网速度加快,发射间隔从早期1-2个月显著缩短至近期的3-5天
- 光伏胶膜部分企业上调报价,成本增加叠加供需改善涨价空间望打开
- 广东研究通过政府投资基金支持商业航天发展,助力商业航天快速发展
- 折叠屏手机正逐步从高端市场向主流消费群体渗透
- 创历史季度新高!二季度全球DRAM市场规模环比增长20%
- 重磅!上海加速推进AI+机器人应用,全国人形机器人运动会盛大开幕,机器人板块持续爆发!
- 重磅利好!个人养老金新增三大领取条件,开启多元化养老新时代,银行理财产品收益喜人!
- 重磅突破!我国卫星互联网组网速度创新高,广东打造太空旅游等多领域应用场景,商业航天迎来黄金发展期!
